Интернет-магазин КВС24
Комплектуем объекты
строительными материалами
+7(812)720-80-80
Например: Перфоратор

ЗУБР ГОСТ 7798-70, кл. пр. 5.8, M10 х 120 мм, цинк, 5 кг, болт (303080-10-120)

Артикул:
303080-10-120
Производитель
Размеры:
230
x
135
x
90
Вес
5,12
кг.
Ед. измерения
упак
Наличие
Есть в наличии (
9
 упак
)
Рейтинг
Количество
1 282,21
1 089,88
выгода
192,33₽
или
15%

Болты изготовлены из высококачественной стали в полном соответствии с действующими стандартами и техническими предписаниями. Находят широкое применение в машиностроении, приборостроении, строительстве, быту и т.д.

Преимущества

  • Шестигранная головка под ключ позволяет создать высокий крутящий момент при затягивании соединения
  • Класс прочности 5.8 обеспечивает необходимую жесткость конструкции
  • Цинковое покрытие надежно защищает от коррозии.

Использование

Для создания разъемного резьбового соединения деталей и конструкций в строительстве и машиностроении. Используются совместно с гайками и шайбами.

ЗУБР ГОСТ 7798-70, кл. пр. 5.8, M10 х 120 мм, цинк, 5 кг, болт (303080-10-120) сертифицирован производителем ЗУБР, передача сертификатов осуществляется в момент отгрузки товара после обращения покупателя.
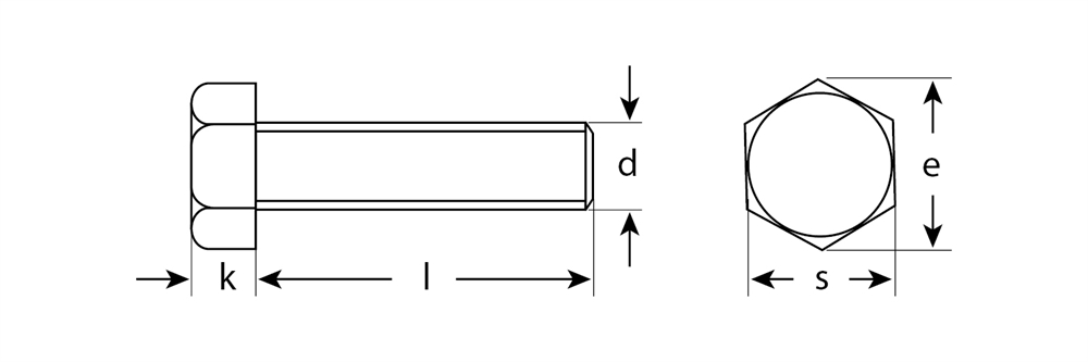
Характеристики:
  • Технические данные
  • Шаг резьбы, мм
    1.5
  • Прочее
  • Высота головки (k), мм
    6.4
  • Диаметр описанной окружности (е), мм
    мин. 18.7
  • Длина (L), мм
    120
  • Метрическая резьба (d)
    М10
  • Размер под ключ (S), мм
    17
  • Стандарт
    ГОСТ 7798-70
  • Тип упаковки
    коробка картонная
  • Упаковка, кг
    5 кг., ( ≈72 шт ±3%)
  • Гарантия
    нет
Фотографии:
Задайте вопрос,
Мы готовы ответить на любые вопросы!